被窝影视 - 最新电影、电视剧、综艺节目免费在线观看
明星电影类连续剧动画片综艺片短剧片影视线报明星芭莎在线影视
更多
    • 明星
    • 电影类
    • 连续剧
    • 动画片
    • 综艺片
    • 短剧片
    • 影视线报
    • 明星芭莎
    • 在线影视
    • 明星
    • 专题
    • 热播
    • 电视直播
    • VIP解析
    视频
    热搜榜
    热门搜索
    1哪吒2魔童闹海荐2长安的荔枝荐3戏台荐4南京照相机荐5罗小黑战记荐
    资讯明星视频
    播放记录
    查看更多
    专题
    APP
    游客
    登录后可享受
    尊享极清观影体验
    同步多端播放记录
    热播精彩及时追

      关注我们

      丝芭仍持有鞠婧祎姓名商标 当前状态均为已注册 -

      来源:   发布时间:2025-12-18   浏览次数:614

      丝芭仍持有鞠婧祎姓名商标 当前状态均为已注册

      丝芭仍持有鞠婧祎姓名商标 当前状态均为已注册

      据报道,12月16日,鞠婧祎工作室联合律师连续发布声明,明确指控前经纪公司丝芭传媒伪造合约、恶意诉讼,并强调双方经纪合约已于2024年6月15日依法解除。

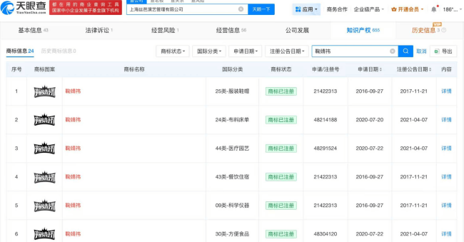
      天眼查知识产权信息显示,上海丝芭演艺管理有限公司已注册多枚“鞠婧祎”商标,国际分类涉及服装鞋帽、布料床单等,当前商标状态均为已注册。

       525
      若本站收录的文章侵犯了您的权益,请联系我们删除侵权内容!

      精彩评论

      最新资讯
      • 谍战电影《代号猎鹰》杀青 致力打造中国的007

        2025-12-19
      • 《我的哪吒与变形金刚》第一季完播:一次跨文化动画叙事的成功实践

        2025-12-19
      • 解锁熊猫七仔的棕色之谜,聆听一场跨越物种的生命对话

        2025-12-19
      • 安徽卫视《2025国剧盛典》破局启新 全网同步直播致敬国剧华章

        2025-12-19
      热播影视
      更多
      • 1出走后两个竹马悔疯了
      • 2极速飞驰
      • 3为奴三年后,整个侯府跪着求我原谅
      • 4重生后我成了闺蜜克星
      • 5行至爱意消散处
      • 6拥有读心术后我称霸职场
      • 7听说婆娑无量苦与君再无朝与暮
      • 8他不爱后,两个青梅后悔哭了
      • 9重启2000之我靠游戏致富
      • 10蛇来运转之团团圆圆
      • 营业执照
      • 京网文[2018]6272-484号
      • 信息网络传播视听节目许可证 0110544号
      • 广播电视节目制作经营许可证 (京)字第1938号
      • 中国互联网诚信联盟
      • 出版物经营许可证
      • 京ICP备11032965号
      • 经营性网站备案信息
      • 京公网安备 11000002002047号
      • 增值电信业务经营许可证 B2-20120273
      • 互联网药品信息服务资格证书
      • 食品经营许可证 JY11108111598788
      • 网上有害信息举报专区
      • 网络举报APP下载
      • 反盗版和反盗链权利声明
      • 违法和不良信息举报电话:400-923-7171
      • 举报邮箱:[email protected]
      • 主题颜色
      • 帮助中心
      • 返回顶部

      主题颜色

      默认
      蓝色
      粉色
      炫彩
      紫色
      橙色
      浅蓝
      深色